اطلاعات تماس
  • 021888*****
[نمایش اطلاعات]
کد: 13990830476049620

انتشار پنتت جدید هوآوی برای ساخت گوشی هوشمند تاشو

کد: 13990830476049620

https://bit.ly/2IMridP

، (اخبار رسمی): در چند سال اخیر تولید و عرضه گوشی‌های تاشو تبدیل به جدیدترین حوزه رقابتی برای سازندگان گوشی‌های هوشمند شده است و مدل‌های مختلفی از این نوع گوشی‌ها توسط سازندگان مختلف روانه بازار شده است. هواوی نیز در این حوزه دستی بر آتش دارد و با ارائه مدل‌های Mate X و Mate Xs یکی از پیشتازان به حساب می‌آید.

انتشار پنتت جدید هوآوی برای ساخت گوشی هوشمند تاشو
انتشار پنتت جدید هوآوی برای ساخت گوشی هوشمند تاشو
انتشار پنتت جدید هوآوی برای ساخت گوشی هوشمند تاشو
انتشار پنتت جدید هوآوی برای ساخت گوشی هوشمند تاشو

 حالا که گوشی‌های موبایل تاشدنی در بازار در حال اوج گرفتن هستند، هوآوی نیز قصد دارد نسخه‌ جدیدی از گوشی هوشمند با این ساختار را روانه‌ی بازار کند و به روند توسعه‌ و پیشرفت خود ادامه دهد.

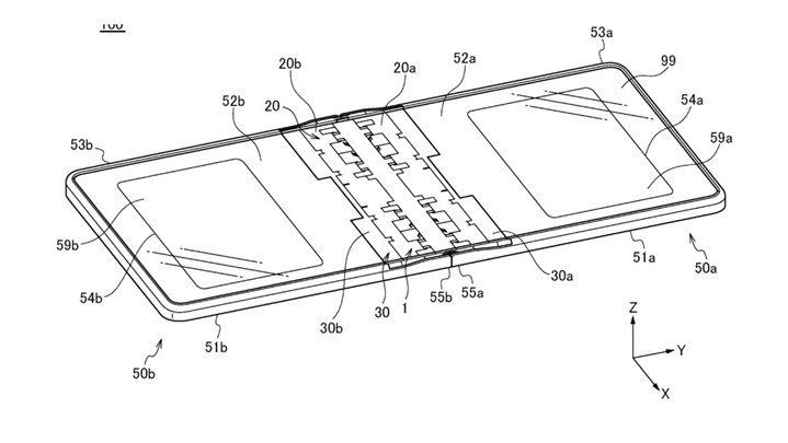
به تازگی گزارشی درباره‌ی یک پتنت منتشر شده که تاریخ ثبت آن به ۱۶ آوریل سال ۲۰۱۹ برمی‌گردد. در این پتنت شاهد یک گوشی هوشمند تاشدنی با طراحی لولای وسط و پیچیده هستیم.

در توضیحات این پتنت آمده که یک ساختار لولایی شامل بلوک مرکزی، لولای اولیه و لولای ثانویه در آن به کار رفته است. اولین لولا خود شامل دو نگهدارنده است که یکی از آنها به صورت چرخشی در سمت جلویی بلوک مرکزی قرار می‌گیرد و دیگری نیز به صورت چرخشی در سمت پشتی بلوک مرکزی وصل شده است.

 همچنین  لولای دوم نیز دو پایه‌ دارد که یکی به صورت چرخشی به مرکز بلوک مرکزی متصل است و به صورت لغزشی عمل می‌کند. پایه‌ی دیگر نیز به صورت چرخشی به بلوک مرکزی وصل شده  و آن نیز به صورت لغزشی فعالیت می‌کند.

بله همانطور که گفتیم این طراحی جدید پیچیده است و شاید برای درک دقیق نحوه عملکرد آن باید تا ارائه نسخه نهایی محصول صبر کنیم. اما آنچه مسلم است اینکه به کمک این طراحی خاص می توان از یک صفحه‌نمایش منعطف استفاده نمود که در واقع هیچ وقت به صورت کامل تا نمی‌شود.

تا به این‌جای کار، فناوری ساخت لولا اصلی‌ترین عامل ایجاد تفاوت بین این گوشی و سایر گوشی‌های تاشدنی است که از سمت شرکت‌های مختلف به بازار عرضه شده‌اند. شاید تضمینی وجود نداشته باشد که محصولی دقیقا منطبق با این ساختار در آینده تولید شود، اما به هر حال یکی از گزینه‌های پیش‌رو هواوی تولید یک گوشی هوشمند پیشرو مجهز به این فناوری خاص است.

### پایان خبر رسمی

اخبار رسمی هویت منتشر کننده را تایید می‌کند ولی مسئولیت صحت مطلب منتشر شده بر عهده ناشر است.

پروفایل ناشر گزارش تخلف
اطلاعات تماس
  • 021888*****
[نمایش اطلاعات]